进口自力式蒸气调节阀概述:
在工业生产过程中,蒸汽作为一种常见的能源介质,被广泛应用于各种设备和工艺中。为了确保蒸汽系统的稳定运行并满足生产需求,调节阀起着至关重要的作用。其中,德国多尔德DOLDR自力式蒸气调节阀凭借其独特的工作原理和优点,成为了工业生产中不可或缺的一部分。

自力式蒸气调节阀工作原理:
自力式蒸气调节阀是一种自动调节阀门,它依据蒸汽压力和流量之间的关系,通过感应信号自动调节阀门开度,以保持蒸汽系统压力和流量的稳定。自力式蒸气调节阀通常由感应机构、执行机构和调节机构三部分组成。
在自力式蒸气调节阀中,感应机构负责感知蒸汽系统压力和流量的变化。当压力或流量发生变化时,感应机构会产生一个信号,并将其传递给执行机构。执行机构接收到信号后,会根据信号的大小和方向,自动调整调节阀的开度,以实现对蒸汽系统压力和流量的调节。
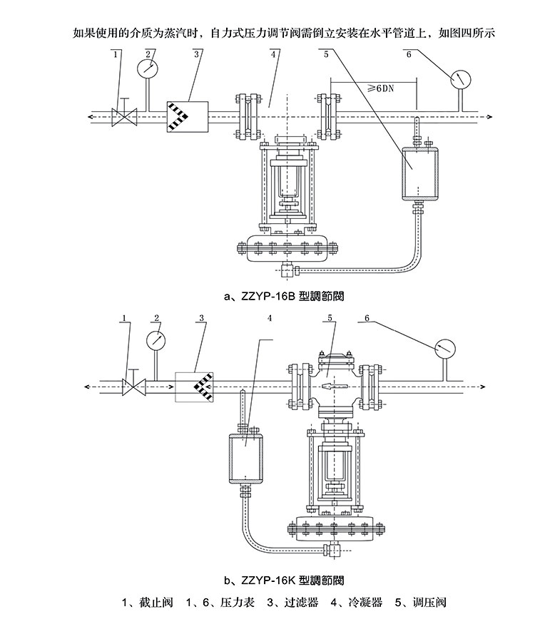
自力式蒸气调节阀安装图:

自力式蒸气调节阀特点
调节精度高:自力式蒸气调节阀采用先进的感应技术和自动控制技术,可以精确感知蒸汽系统压力和流量的变化,并对其进行精确调节。
稳定性好:由于自力式蒸气调节阀的感应机构和执行机构采用一体化设计,减少了外部干扰对阀门稳定性的影响,使得阀门具有更好的稳定性。
适用范围广:自力式蒸气调节阀适用于各种蒸汽系统,如低压、中压和高压蒸汽系统。此外,它还适用于不同的蒸汽介质,如蒸汽、水蒸气等。
无需外部电源:自力式蒸气调节阀依靠自身内部结构实现自动调节,无需外部电源,具有更强的适应性。
长寿命:由于自力式蒸气调节阀采用耐磨、耐腐蚀材料制造,具有较长的使用寿命和较低的维护成本。
自力式蒸气调节阀应用场景
化工行业:在化工生产中,蒸汽被广泛应用于各种化学反应和工艺过程中。自力式蒸气调节阀能够帮助化工企业实现蒸汽系统的稳定运行,提高生产效率和产品质量。
制药行业:制药生产中对温度和压力的控制要求非常严格,自力式蒸气调节阀能够对蒸汽系统进行精确调节,确保药品生产过程的稳定和可靠。
能源行业:在能源领域,自力式蒸气调节阀被广泛应用于蒸汽发电、供暖和制冷等系统中,提高能源利用效率,降低能源消耗。
其他行业:除上述行业外,自力式蒸气调节阀还被广泛应用于造纸、纺织、印染、食品等众多行业,帮助企业实现蒸汽系统的优化调节,提高生产效益。
总之,自力式蒸气调节阀在工业生产中扮演着至关重要的角色,它能够实现蒸汽系统的稳定运行,提高生产效率和产品质量。凭借其高精度、稳定性好、适用范围广等诸多优点,自力式蒸气调节阀在化工、制药、能源等众多行业中得到了广泛应用,为企业创造更高的经济效益和社会效益。

全国服务热线



